AEC-Q认证是国际汽车电子领域的准入门槛1994 年,克莱斯勒、福特和通用汽车三大主机厂为建立一套通用的零件资质及质量系统标准而设立了汽车电子委员会 AEC(Automotive Electronics Council),符合AEC规范的零部件均可被三家车厂同时采用。此举推动了汽车零部件通用性的实施,为车载电子市场的快速增长奠定基础。目前AEC会员遍及全球各大汽车厂与汽车电子和半导体厂商,AEC-Q为AEC组织所制订的车用可靠性测试标准。 目前,AEC-Q 标准已被整个汽车行业广泛认可和采用,获得 AEC-Q 认证的企业将在日益激烈的市场竞争中抢占先机,成功打入各大主机厂和一级供应商的供应链。 ![]() 汽车电子元器件供应商需要对产品做相应的AEC-Q认证,并提供相关数据,由元器件用户进行审核;同时,汽车电子供应商在做AEC-Q验证之前,也要充分了解用户的使用情况(Mission Profile)。 AEC-Q认证适用产品
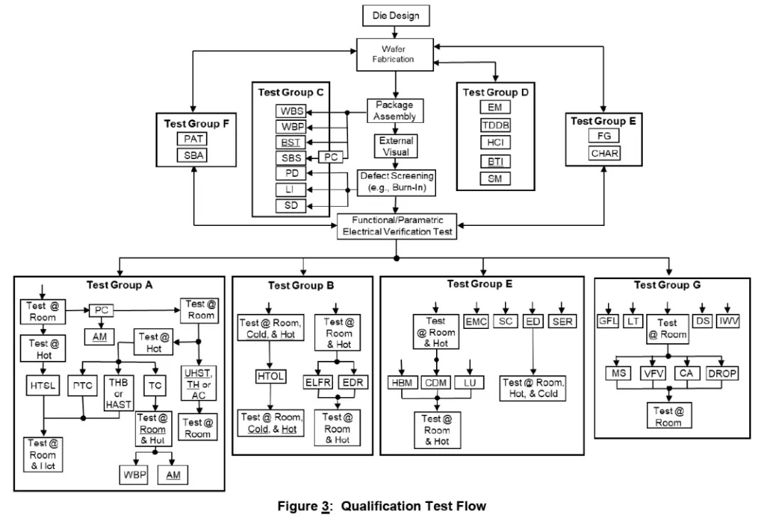
AEC-Q100的常见问题 Q.芯片参加 AEC-Q100 测试认证需要做哪些准备? 芯片需要确认以下信息: Wire Bonding及其材质 AEC-Q100标准中包含了与Wire Bonding相关的测试项(如WBS、WBP)。车规芯片内部是否存在Wire Bonding决定了是否需要执行这些测试项。此外,Wire Bonding的材质也至关重要,金线参考AEC Q100标准,而铜线(含铜)则在AEC- Q100的基础上增加了AEC-Q006的要求。 应用等级 车规芯片的应用等级根据其在汽车中使用的环境温度进行划分,等级从0(最高)到3(最低)。应用等级决定了测试认证时参考的具体测试条件。 湿度敏感等级(MSL) 湿度敏感等级(MSL)的选取应参考JESD22-A113/J-STD-020标准。车规芯片的湿度敏感等级最低要求为MSL 3。 点击查看大图 Q.每一款芯片都需要参加AEC-Q100的所有测试项吗? AEC-Q100 测试认证包含多个项目,但并非所有芯片都需要参加所有测试项,有些测试项是为特定类型的芯片“量身定制”的,例如: ●B3 EDR仅针对非易失性存储芯片/含非易失性存储模块的芯片 ●C5 SBS仅针对BGA封装芯片 ●E10 SC仅针对智能电源管理芯片 ●E11 SER仅适用于≥ 1Mbit的SRAM和DRAM ●G组测试仅针对内含空腔封装的产品 Q.如何判断一款芯片是否要做功率温度循环(Power Temperature Cycling, PTC)测试? PTC测试针对那些在预期应用中功率耗散反复变化≥1瓦特且功率上升时间<0.1秒而导致结温变化≥40ºC的芯片,如用于感应负载的智能功率开关。 Q.有哪些测试涉及到硬件/夹具制作? AEC-Q100标准中涉及硬件/夹具制作的主要有THB/HAST、PTC、HTOL、ELFR、EDR、ESD、EMC、MS、VFV等。 Q.静电放电测试(ESD)和闩锁测试(LU)要求是什么? ESD测试包括人体模型(HBM)和机器模型(CDM),针对不同类型和频率的芯片有不同的电压要求。LU测试则是针对信号Pin和电源Pin的过压测试。 Q.家族系列产品是否都需要通过完整的AEC Q100测试认证? 不需要。AEC-Q100提供了关于通用数据使用的指导原则,允许在系列中的一个代表产品成功完成资格认定后,通过关联性使系列内其他产品(除ESD、LU、ED)获得资格认定。只需根据系列内产品与代表产品的差异,依据AEC-Q100 Table 3(见下表)执行必要的补充测试即可。 点击查看大图 AEC-Q100 测试流程 下文将围绕AEC-Q100标准,简单介绍其测试流程,以及各个测试项的测试原理,旨在让读者了解各个测试项考核的内容以及大致的原理,具体的测试规范和方法将不在此展开深入介绍。 从Test Flow中可以看出,AEC-Q100测试项包含A/B/C/D/E/F/G共七组,各组测试项的考核侧重点不同,覆盖了从Wafer到封装后的产品。 E组实验项 D组实验项 C组实验项 F组实验项 E组实验项 A组实验项 B组实验项 G组实验项 车规芯片变更,如何通过AEC-Q100验证? AEC-Q100是汽车电子委员会(AEC)制定的一系列标准之一,专为汽车电子组件的质量认证而设计。当某款车规芯片发生变更时,此时需根据AEC-Q100 3.2.2的要求,执行必要的测试项目,以确保变更后的芯片能够满足车规要求。 ![]() 点击图片查看大图 变更项目验证流程 以ASSEMBLY中New Package为例: 按照标准要求,需要对以下22项(视芯片参数选取)进行测试并确保通过,从而证明芯片符合车规认证要求。 A组 (含PC) THB、AC、TC、PTC、HTSL B组 HTOL、ELFR C组 WBS、WBP、SD、PD、SBS、LI E组 HBM、CDM、ED、SC、LF G组 MECH、DS、IWV 点击图片查看大图 如果芯片的变更仅限于表面字符,那么仅需补测C组中的SD即可。对于其他类型的变更,以ASSEMBLY中Wire Bonding为例,则需要补测以下项目: A组 (含PC) THB、AC、TC、PTC、HTSL C组 WBS、WBP E组 ED、SC、LF G组 MECH 综上 变更验证的基本原则是清晰识别具体发生变更的内容,然后对照AEC-Q100标准中的测试项目表格,选定必要的补测项目并执行。只有当所有选定的测试项目都通过时,才能证明新样品符合车规认证。 华碧检测芯片测试能力及AEC-Q100整体技术要求 ![]() 华碧实验室是国内领先的集检测、鉴定、认证和研发为一体的第三方检测与分析的新型综合实验室,拥有丰富的车规级电子认证经验,已成功帮助300多家企业顺利通过AEC-Q系列认证,通过AEC-Q100对每一个芯片个案进行严格的质量与可靠度确认。 |





D组实验项



